Linearantriebe montieren
Für die Durchflussregelung eignen sich Linearantriebe.
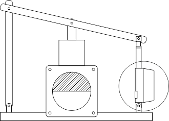
Funktionsprinzip
Je nach Höhe des Schiebers vergrößert oder verkleinert sich eine Öffnung, durch die Material fließt.
Schematische Übersicht
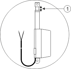
Belegung
Je nach Anschluss des Aktors (Pluspol oder Minuspol) wird die Drehrichtung des Linearantriebs beeinflusst. Der Linearantrieb dreht sich entweder in die eine oder in die andere Richtung.





