Schritt 4: Sensorrohr montieren
Vorgehensweise
- 1.
- Führen Sie das vorbereitete Sensorrohr durch den Durchbruch an der Tankoberseite.
- 2.
- Schrauben Sie das Sensorrohr in die Rohrhalterung am Tankboden. Da Sie das Sensorrohr drehen müssen, achten Sie darauf, dass das Kabel des Sensorrohrs nicht verwickelt wird.
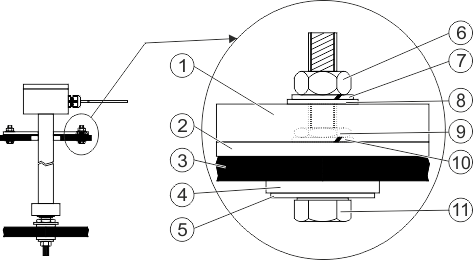
- 3.
- Schieben Sie auf jede der 4 Sechskantschrauben M8 eine Scheibe A8,4 (groß) und eine Vitondichtung 25x8x3.
- 4.
- Führen Sie die Schrauben von unten nach oben durch den Tankdeckel.
- 5.
- Schieben Sie von oben auf die Schrauben einen Federring B8.
- 6.
- Befestigen Sie die Schrauben mit den Muttern M8 flach.
- 7.
- Schieben Sie die Vitondichtung 140 und die Flanschscheibe 140 nach unten.
- 8.
- Schieben Sie eine Scheibe A8,4 und einen Federring B8 auf die Schrauben.
- 9.
- Befestigen Sie die Schrauben mit den Muttern M8.
- 10.
- Sie haben die Montage abgeschlossen.













