Schritt 2: Rohrhalterung montieren
Vorgehensweise
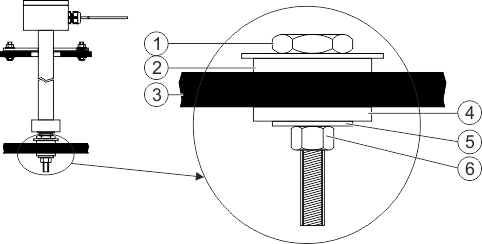
- 1.
- Schieben Sie eine Vitondichtung 25x6 auf die Rohrhalterung.
- 2.
- Stecken Sie die Rohrhalterung von oben durch das Loch im Tankboden.
- 3.
- Schieben Sie die zweite Vitondichtung 25x6 von unten auf die Rohrhalterung.
- 4.
- Schieben Sie die Scheibe A6,4 auf die Rohrhalterung.
- 5.
- Befestigen Sie die Rohrhalterung mit der Mutter M6.
- 6.
- Sie können jetzt das Sensorrohr vorbereiten.








