Kerék érzékelő felnire történő szerelése
A kerékszenzort a következő esetekben szerelik a felnire:
- ▪
- Vontatott permetezőgép esetén - a vontatott permetezőgép felnijére.
- ▪
- Függesztett permetező és összkerékhajtás nélküli traktor esetén- a traktor első kerekére.
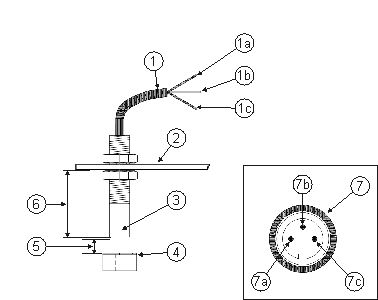
A következő ábrán a kerékszenzor és a mágneses helyét mutatja a felnin:
A kerékszenzor és a mágnesek helye a felnin
Eljárásmód
- 1.
- Számítsa ki a szükséges mágnesek számát.
A mágnesek számát a kerék mérete határozza meg.
Az egyes impulzusok között megtett távolság nem lehet nagyobb 60 cm-nél.
Számítás:
Kerékkerület ÷ 60 cm = mágnesek száma
pl.:
256 cm ÷ 60 cm = 4,27 = min. 5 mágnes
- 2.
- Szerelje fel a mágneseket a mellékelt V4A csavarokkal a keréktárcsára.
A mágneseket egyenlő távolságra kell elosztani a felni kerülete mentén.
- 3.
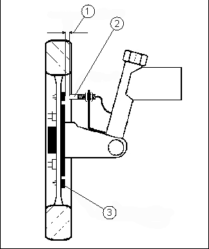
- Rögzítse a kerékszenzort a tengelycsukló csapágyára a mellékelt tartó segítségével. A szenzor végének a mágnesek felé kell néznie.
A szenzor és a mágnesek között 5 -10 mm távolságnak kell adódnia.
A következő ábrán a szenzor és a mágnesek helye látható:
- 4.
- Csatlakoztassa elektronikusan a kerékszenzort:
Ehhez az alábbi lehetőségek állnak rendelkezésre:
- Ha a kerékszenzort a vontatott permetezőre szerelte, csatlakoztassa a kerékszenzort az elosztóra. Használja a 39 pólusú dugaszt.
- Ha a kerékszenzort a traktor kerekére szerelte, közvetlenül a Spraylight egységre csatlakoztassa a kerékszenzort. Csatlakoztassa a szenzor 3 pólusú dugaszát a Spraylight egység 8 pólusú csatlakozóházára.



