Terminál felszerelése
Terminál felszerelése
Eljárásmód
- 2.
- Rögzítse a tartót a számítógéppel a traktor fülkéjében.
MEGJEGYZÉS! A rádiótól, vagy rádióantennától való távolságnak legalább egy méternek kell lennie.
A tartó fülkében való rögzítéséhez egy alapkonzol használható.
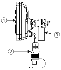
- 3.
- Kösse össze a terminált az elosztóval.





