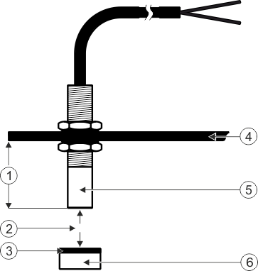
Installing the working position sensors
Reed contact sensors are suitable as working position sensors.
Functional principle
A signal is sent when the red side of a magnet is held in front of the red cap of the sensor. This creates a connection between the signal wire and the ground wire of the sensor.
Schematic overview
Connector pin assignment
3-pin AMP connector
Spare part number










