Installing the revolution sensors
Hall element sensors are suitable as revolution sensors.
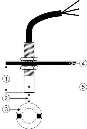
Functional principle
The Hall element establishes a connection between the green and the white cable cores. To do so, the magnet must be held with the red side in front of the blue cap on the sensor.
Schematic overview
Connector pin assignment
3-pin AMP connector
Spare part number









